偏光子: LCD スクリーンの「光学ゲートキーパー」

2025-08-18

LCD スクリーン上の鮮やかな画像を鑑賞するとき、一見普通の薄膜が重要な、しかし目には見えない役割、つまり偏光子を果たしています。この高度な光学コンポーネントは、光の出入りを細心の注意を払って制御する正確な「ゲートキーパー」として機能し、液晶ディスプレイ (LCD) テクノロジーに不可欠なものとなっています。


双方向ライトゲート

LCD は照明をバックライト ユニットに依存しています。偏光子の中核となる機能は次の 2 つです。

入力フィルタリング (下部偏光子): バックライトからの混沌とし​​た非偏光の自然光を、均一な振動方向の偏光に変換します。

出力制御 (上部偏光子): 通常、下部偏光子に対して 90 度垂直に配向されます。液晶分子が上部偏光子の「通過条件」に合わせて偏光方向をうまく回転させ、可視画像を形成する明暗のパターンを作成した場合にのみ、光は通過できます。

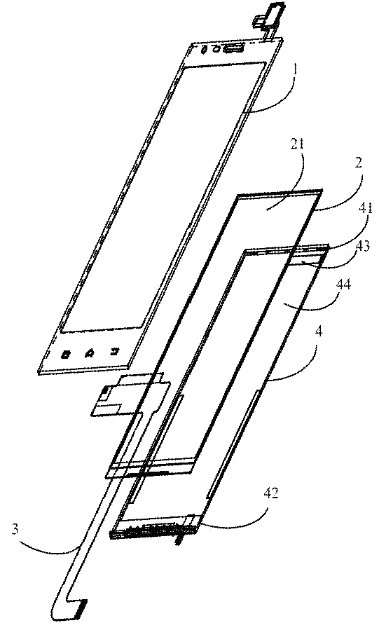
精密5層サンドイッチ構造

偏光子は、精密に設計された 5 つの機能層の複合体です。

TAC フィルム (トリアセチルセルロース - 上層と下層): 「堅牢なシールド」および「光学補償器」として機能します。物理的保護 (傷、耐湿性) を提供し、低い光学遅延特性により光学歪みを補償し、色純度を確保し、画像の歪みを最小限に抑えます。

PVA フィルム (ポリビニル アルコール - コア層): 「偏光発生器」。延伸と染色(ヨウ素または二色性)により、その分子鎖は整列し、強い二色性を示します。つまり、ある振動方向の光波を吸収し、それに垂直な光波を透過し、偏光を効率的に生成します。その性能により、偏光子の効率(偏光度)と透過率が決まります。

感圧接着剤 (PSA): 「目に見えない接着剤」。偏光子アセンブリを液晶ガラスセル基板上に確実かつ均一に積層します。高い透明性、長期安定性、耐候性、非腐食性、気泡や欠陥の発生が少ないことが求められます。

リリースフィルム:「輸送用プロテクター」。製造、輸送、保管中の汚染や偶発的な付着から PSA 層を保護します。パネル工場で貼り合わせ工程の直前に剥がされて廃棄されます。

将来の需要に向けた継続的な進化

より高い画質 (4K/8K、HDR)、より広い視野角、より薄いプロファイル、および柔軟性の追求により、偏光子テクノロジーの継続的な革新が推進されます。

より薄いプロファイル: より薄い TAC、または COP (シクロオレフィンポリマー) や PET フィルムなどの代替材料の採用。

パフォーマンスの向上: PVA 処理の最適化により、透過率とコントラスト比が向上しました。

より広い視野角: 光学補償フィルムの統合により、LCD 固有の視野角制限が緩和されます。

柔軟性: 折り畳み式ディスプレイおよびフレキシブル OLED と互換性のあるフレキシブル偏光子の開発。


CNKについて

2010年に深センで設立されたCNKエレクトロニクス(略称CNK)は、2019年に福建省龍岩市にある世界有数の工場を拡張しました。ディスプレイ製品の設計、開発、生産、販売に特化した革新的な専門企業です。 CNK は、コスト効率に優れた中小規模のディスプレイ モジュール、ソリューション、サービスを世界中のお客様に提供しています。 CNK は技術と高品質を重視し、持続可能な発展を続け、お客様により良い安定したサービスを提供するよう努めています。


X
We use cookies to offer you a better browsing experience, analyze site traffic and personalize content. By using this site, you agree to our use of cookies. Privacy Policy
Reject Accept